Gå till innehållet
Gå till startsidan

Denna webbplats vänder sig till läkare

Sök

Nygammalt arbetssätt på narkosen minskade miljöpåverkan kraftigt

Ett förändrat arbetssätt vid total-intravenös anestesi (TIVA) på operationsavdelningarna på Alingsås lasarett och Angereds närsjukhus sparade både miljöpåverkan och arbetstid. Nyligen publicerades en studie av metoden i European Journal of Anaesthesiology, genomförd av narkosläkare på de båda sjukhusen.

Idén att införa det nya arbetssättet, som nu används på flera håll runt om i Västra Götalandsregionen, väcktes under pandemin när det rådde brist på olika typer av material. Två narkosläkare på Angereds närsjukhus och Alingsås lasarett hade tidigare arbetat i Norge och då stött på metoden, som möjliggör flergångsanvändning av den uppsättning slangar och sprutor som används för införsel av anestesiläkemedel vid total-intravenös anestesi,  TIVA.

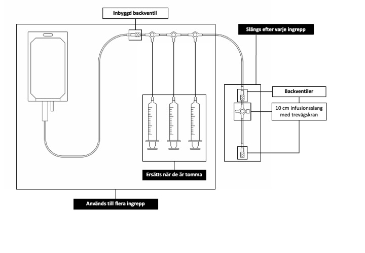
Detta görs genom att en extra slangdel kopplas på, försedd med dubbla backventiler, vilket förhindrar kontakt med patientens blod. Slangdelen byts sedan ut mellan patienterna. Vinsten: förbrukningen av både läkemedel och material minskar, och mindre arbetstid krävs.

Per Werner Möller. Foto: Gunilla von Zweigbergk

Nyligen publicerades en studie i European Journal of Anaesthesiology som visar att risken för att anestesipersonal oavsiktligt kontaminerar infusionsset inte är större vid flergångsanvändning jämfört med engångsanvändning. Bakom studien står bland annat en grupp narkosläkare från de båda sjukhusen.

– Vi ville adressera vårdhygieniska frågetecken kring användarkontamination. Vi vet att arbetsmoment som ska utföras med aseptisk teknik inte alltid lyckas bibehålla aseptik, så vi ville se vad som händer över tid, under loppet av operationsdagen, säger Per Werner Möller som är narkosläkare, enhetschef och huvudansvarig för studien.

Studien genomfördes under två månader hösten 2023 på Alingsås lasarett och Angereds närsjukhus, och omfattar data från 348 operationer. Operationssalar som var bokade för två eller fler operationer med total-intravenös anestesi randomiserades till att sköta om anestesin med antingen engångs- eller flergångsanvändning. Efter varje operation togs prov från läkemedelsvätskan som skickades till Sahlgrenska universitetssjukhuset för odling och analys.

Resultatet visade ingen skillnad när det kom till bakteriell kontamination, berättar Per Werner Möller. Desto större skillnad var det när det kom till miljöpåverkan, vilket var den andra aspekten som forskarna tittade på. I de fall där infusionssetet användes till fler patienter, i genomsnitt tre användningar, blev koldioxidutsläppen per ingrepp 69 procent lägre jämfört med traditionell engångsanvändning.

– Den stora miljövinsten ligger i minskad tillverkning och transport av infusions-komponenter av plast, något som man vid avfallshantering slutligen eldar upp, säger Per Werner Möller.

Illustration av infusionsset. Copyright: Per Werner Möller

Per Werner Möller berättar att de studier som finns kring metoden, enbart prekliniska, alla visar det inte kan ske någon så kallad retrograd kontamination, det vill säga smitta från patient till patient via korskontamination av infusionssetet.

– Om man sneglar på andra verksamheter, till exempel på röntgen, är det vanligt att de använder samma grundprincip när de ska ge intravenös kontrastvätska. Det vill säga man använder en och samma spruta med kontrastläkemedel till flera undersökningar och byter endast den infusionsslang som kopplas till patienten.

När läkarna presenterar studien och berättar om metoden för andra operationsavdelningar får de blandade reaktioner, berättar Per Werner Möller. En del blir inspirerade och säger att de själva tänker börja med arbetssättet. Andra säger att man redan i dag använder metoden, men kanske utan att prata med respektive regions vårdhygieniska enhet.

– Det är därför det har varit viktigt att göra den här studien och vara öppna med att vi arbetar så här. Ska vi göra på det här sättet måste det finnas studier publicerade, så att alla eventuella risker kan identifieras.

En annan aspekt är att infusionsseten, i det här arbetssättet, inte används enligt tillverkarens instruktioner.

– Tillverkaren klassar infusionsprodukterna som engångsmaterial, vilket bland annat betyder att de inte är lämpade eller godkända för reprocessning, som disk, tvätt eller re-sterilisering. Vi avviker från tillverkarens instruktion, vilket kräver att vi tar tillverkaransvar och skapar ett sammanhang där vi kan garantera att användningen sker säkert, säger Per Werner Möller och berättar att det innebär att säkerställa att de infusionskomponenter som används flera gånger aldrig under några omständigheter kontamineras genom att komma i kontakt med patienters blod.

– De infusionskomponenter som kan komma i kontakt med patientblod används bara för en patient och kasseras därefter, säger han.

Det är Inspektionen för vård och omsorg, Ivo, som utövar tillsyn av hur sjukvården efterföljer lagstiftningen om medicintekniska produkter. I våras inledde myndigheten ett tillsynsärende kring det nya arbetssättet i Västra Götalandsregionen, berättar Per Werner Möller som välkomnar tillsynen.

– Vi vet inte vad ingången är än. Antingen vill Ivo prova säkerhetsaspekten, värdera evidensen. I så fall kommer de ha stor nytta av vår studie. Eller så vill man utreda att verksamheterna följer informationsplikten och rapporterar

Jobb i fokus

Mer att läsa

Mer att läsa